Вход стабилизатора - "IN"; выход - "OUT"; общий -"GND" (Ground).
• Вход управления регулируемого стабилизатора обозначается как "ADJ" (Adjust - регулировка).
• Ко входу (Input), а также к выходу (Output) стабилизатора (непосредственно у соответствующего вывода или вблизи него) во избежание самовозбуждения необходимо подключать конденсатор емкостью 47...220 нФ.
• Если емкость конденсатора на выходе стабилизатора очень велика, а ток нагрузки мал, между входом и выходом необходимо включать диод. Это решение гарантирует, что напряжение на выходе будет очень быстро уменьшаться до величины входного напряжения.
• Для надежной работы стабилизатора напряжение на входе выбирается не менее чем на 3 В выше, чем выходное напряжение.
• Не рассматриваемые здесь стабилизаторы серии "low-drop" (с малым падением напряжения между входом и выходом) для надежной стабилизации должны иметь входное напряжение, превышающее выходное на 0,1 ...0,5 В.
Стабилизаторы положительного постоянного напряжения, максимальный выходной ток - 100 мА, корпус - ТО-92 (рис.1)
| Тип | Входное напряжение, В | Выходное напряжение, В. |
|
| Min | Мах | ||
| 78L05 | 7.2 | 30 | 5 |
| 78L06 | 8,2 | 30 | б |
| 78L08 | 10,2 | 30 | в |
| 78L09 | 11.2 | 30 | 9 |
| 78L12 | 14,2 | 30 | 12 |
| 78L15 | 17,2 | 30 | 15 |
| 78L18 | 20,2 | 30 | 18 |
| 78L24 | 26,2 | 30 | 24 |
Рис. 1
Ошибка на рис 1. Цоколевка не соответсвует действительности. Правильно: 1 -
Out, 2 - GND, 3 - In
Стабилизаторы положительного постоянного напряжения, максимальный выходной ток - 500 мА, корпус - ТО-220 (рис.3) или ТО-39 (рис.6)Out, 2 - GND, 3 - In
| Тип | Входное напряжение, В | Выходное напряжение, В |
|
| Min | Мах | ||
| 78М05 | 7,5 | 35 | 5 |
| 78М06 | 8,5 | 35 | 6 |
| 78М08 | 10,5 | 35 | 8 |
| 78М12 | 14,5 | 35 | 12 |
| 78М15 | 17,5 | 35 | 15 |
| 78М20 | 22,5 | 40 | 20 |
| 78М24 | 26,5 | 40 | 24 |
Рис.2
Ошибка на рис 2. Правильно: 1 - GND, 2 - In, 3 - Out
Рис.3
Рис.4
Ошибка на рис 4. Правильно: 1 - GND, 2 - In, 3 - Out
Стабилизаторы постоянного отрицательного напряжения с максимальным выходным током 100 мА в корпусе ТО-92 (рис.2)| Тип | Входное напряжение, В | Выходное напряжение, В |
|
| Min | Мах | ||
| 79L05 | -7,2 | -30 | -5 |
| 79L06 | -8,2 | -30 | -6 |
| 79L08 | -10,2 | -30 | -8 |
| 79L09 | -11.2 | -30 | -9 |
| 79L12 | -14,2 | -30 | -12 |
| 79L15 | -17,2 | -30 | -15 |
| 79L18 | -20,2 | -35 | -18 |
| 79L24 | -26,2 | -35 | -24 |
LM79LxxACZ; MC79LxxCP; uA79LxxAWC.
Стабилизаторы постоянного отрицательного напряжения с максимальным выходным током 1 А в корпусе ТО-220 (рис.4)
| Тип | Входное напряжение, В | Выходное напряжение, В | |
| Min | Мах | ||
| 7905 | -7,8 | -35 | -5 |
| 7906 | -8,8 | -35 | -6 |
| 7908 | -10,8 | -35 | -8 |
| 7909 | -11,8 | -35 | -9 |
| 7912 | -14,8 | -35 | -12 |
| 7915 | -17.5 | -35 | -15 |
| 7918 | -20,5 | -35 | -18 |
| 7924 | -26,5 | -40 | -24 |
Стабилизаторы постоянного положительного напряжения с выходным током более 1 А в корпусе ТО-3 (рис.5)
| Тип | Входное напряжение, В | Выходное напряжение, В | Выходной ток, А | |
| Min | Мах | |||
| UA7805CKTE | 7.0 | 20 | 5 | 3 |
| 78H05KC | 8,0 | 25 | 5 | 5 |
| 78H12KC | 15 | 25 | 12 | 5 |
| LM323K | 7 | 20 | 5 | 3 |
| TPS60123PWP | 7 | 20 | 5 | 3 |
Рис.5
Стабилизаторы положительного постоянного напряжения, корпус - ТО-220 (рис.3) или ТО-39 (рис.6)| Тип | Входное напряжение, В | Выходное напряжение, В | Выходной ток, А | |
| Min | Мах | |||
| 7805 | 7,5 | 35 | 5 | 1 |
| 7806 | 8,5 | 35 | 6 | 1 |
| 7808 | 10,5 | 35 | 8 | 1 |
| 7812 | 14,5 | 35 | 12 | 1 |
| 7815 | 17,5 | 35 | 15 | 1 |
| 7818 | 20,5 | 35 | 18 | 1 |
| 7824 | 26,5 | 40 | 24 | 1 |
| LM340-05 | 7 | 35 | 5 | 1,5 |
| LM340-06 | 8 | 35 | 6 | 1,5 |
| LM340-08 | 10,5 | 35 | 8 | 1.5 |
| LM340-12 | 15 | 35 | 12 | 1,5 |
| LM340-15 | 17,5 | 35 | 15 | 1,5 |
| LM340-18 | 21 | 40 | 18 | 1,5 |
| LM340-24 | 27 | 40 | 24 | 1,5 |
| LM309K | 7 | 35 | 5 | 1 |
Рис.6
Регулируемые стабилизаторы положительного напряжения| Тип | Максимальное входное напрянение, В | Выходное напряжение, В | Максимальный выходной ток, А |
Расположение выводов. рис. | Схема включения, рис. |
Примечания |
| L200CV | 40 | 3...37 | 0.. 2 | 11 | 17 | TO-220/5 |
| LM317T | 40 | 1,2...37 | 1.5 | 8 | 18 | ТО-220 |
| LM317K | 40 | 1,2...37 | 1,5 | 9 | 18 | ТО-3 |
| TL317LP | 40 | 1,2...37 | 0,1 | 7 | 18 | TO-92 |
| uA78MG | 40 | 5...30 | 0,5 | 10 | 19 | TO-220/4 |
| uA78CKC | 33 | 5...30 | 1 | 12 | 19 | Ррасс=12 Вт |
| uA78HGKC | 30 | 5...24 | 5 | 12 | 19 | Ррасс=50 Вт |
| LM338 | 30 | 5...24 | 5 | 12 | 19 | Ррасс=50 Вт |
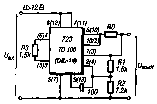
| LM723 | 40 | 2...37 | 0,15 | 13 | 20 | DL-14 |
| LM723TO | 40 | 2...37 | 0,15 | 14 | 20 | ТО-100 |
| L123 | 40 | 2...37 | 0,15 | 13 | 20 | DL-14 |
Другие интегральные стабилизаторы в корпусе DIL-14: uA723PC; CA723CE; L123СВ; LM723CN; MC1723CP; RC723DB.
Ошибка на рис 7. Правильно: 1 - ADJ, 2 - Out, 3 - In
Ошибка на рис 8. Правильно: 1 - ADJ, 2 - Out, 3 - In
Рис.12
Рис.13
Рис.14
Рис. 15. Схема включения стабилизатора положительного напряжения
Рис. 16. Схема включения стабилизатора отрицательного напряжения
Рис. 17. Схема включения стабилизатора типа L200 с ограничением тока
Рис. 18. Схема включения стабилизатора типа LM317 с ограничением тока
Рис. 19. Стандартная схема включения стабилизатора с ограничением тока
Рис. 20. Схема включения стабилизатора типа LM723 с ограничением тока
Рис. 21. Получение стабилизированного отрицательного напряжения с помощью стабилизатора положительного напряжения
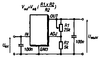
Рис. 22. Регулируемый стабилизатор напряжения
Общие сведенияВход стабилизатора - "IN"; выход - "OUT"; общий -"GND" (Ground).
• Вход управления регулируемого стабилизатора обозначается как "ADJ" (Adjust - регулировка).
• Ко входу (Input), а также к выходу (Output) стабилизатора (непосредственно у соответствующего вывода или вблизи него) во избежание самовозбуждения необходимо подключать конденсатор емкостью 47...220 нФ.
• Если емкость конденсатора на выходе стабилизатора очень велика, а ток нагрузки мал, между входом и выходом необходимо включать диод. Это решение гарантирует, что напряжение на выходе будет очень быстро уменьшаться до величины входного напряжения.
• Для надежной работы стабилизатора напряжение на входе выбирается не менее чем на 3 В выше, чем выходное напряжение.
• Не рассматриваемые здесь стабилизаторы серии "low-drop" (с малым падением напряжения между входом и выходом) для надежной стабилизации должны иметь входное напряжение, превышающее выходное на 0,1 ...0,5 В.
Источник: Funkamateur, 9/99. Перевод А.Бельского Источник: Funkamateur, 9/99. Перевод А.Бельского Источник: Funkamateur, 9/99. Перевод А.Бельского
Администрация сайта отдельно благодарит Александра Сокотун за исправление опечаток на этой странице.
