Прием, при котором используется специальный источник света получил название "подсветка" (backlight). Для реализации подсветки используется несколько технологий:
Электролюминесцентная (EL) подсветка
Электролюминесцентная подсветка обеспечивает равномерное освещение и выполняется в тонком и легком конструктиве (См. Рис. 2).
Рис. 2. Конструктив электролюминесцентной подсветки
Она обеспечивает получение различных цветов, в том числе и белого, чаще всего используемого в LCD. Потребление при электролюминесцентной подсветке относительно мало, однако для ее организации необходимо организовать переменное напряжение в диапазоне от 80 до 100 В c типовой частотой порядка 400 Гц. Такое напряжение организуется специальными преобразователями, преобразующими напряжение постоянного тока 5, 12 или 24 В в необходимое высокое переменное напряжение. Это наиболее экономичный, с точки зрения потребления, тип подсветки и он чаще всего используется в устройствах с батарейным питанием. Срок жизни электролюминесцентной подсветки (снижение яркости наполовину от исходной) составляет порядка 3 - 5 тысяч часов и зависит от установленной яркости свечения (См. Рис 3.).
Рис. 3. Срок жизни EL подсветки, зависимость срока жизни от установленной яркости
Отличительные особенности электролюминесцентной (EL) подсветки:
- Плоский источник света, максимальная толщина 1,3 мм (максимум 1,5 мм с учетом выводов), обеспечивает технологически простую и равномерную подсветку большой площади
- Широкий диапазон напряжений питания, от 60 до 1000 Гц переменного тока с максимальным напряжением 150 В. При наличии повышающих преобразователей возможно питание от одной батареи с напряжением 1,5 В.
- Цвет свечения: зелено-голубой, желто-зеленый и белый .
- Рабочие характеристики типовых модулей: напряжение питания 110 В с частотой 400 Гц, потребление 8 мА (при Ta = 20°C, и относительной влажности 60%).
- Диапазон рабочих температур: от 0°C до 50°C, диапазон температур хранения: от -20°C до 60°C
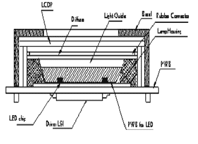
Светодиодная подсветка обеспечивает самый большой срок службы - минимум 50 тысяч часов, и яркость большую, чем у EL подсветки. Подсветка организуется твердотельными приборами и, следовательно, может работать непосредственно от источника с напряжением 5 В - без использования преобразователей, однако для защиты LED (для ограничения тока) рекомендуется устанавливать ограничивающие резисторы. Цепочка светоизлучающих диодов располагается вдоль боковых поверхностей дисплея (б), или в виде матрицы под диффузором (рассеивателем) (а) и обеспечивает яркий равномерный подсвет (См. Рис. 4 а, б).
Боковая подсветка используется в модулях с количеством знакомест в строке до 20. При количестве знакомест свыше 20 при боковой подсветке уже образуется более темная, чем на краях, область. Для устранения этого недостатка некоторые фирмы применят специальные меры, например, организуют дополнительную подсветку сверху.
Матричная LED подсветка обеспечивает более яркий и равномерный свет. При разработке такой подсветки определяющим является потребление. Не рекомендуется использовать их в применениях с батарейным питанием, в которых необходимо иметь постоянно включенную подсветку.
Светодиоды LED подсветки работают при напряжении питания 4,2 В (типовое), потребление LED подсветки определяется количеством включенных диодов и, следовательно, с увеличением размера дисплея растет и потребление, составляющее от 30 до более 200 мА.
Светодиодная подсветка может быть различного цвета, в том числе и белая, но чаще всего, в настоящее время, используется желто-зеленая подсветка. Хотя потребление LED больше, чем у EL, светоизлучение LED подсветки выше. Возможно управление яркостью свечения посредством потенциометра или ШИМ регулятора.
Принимая во внимание стоимость преобразователей, используемых с EL, применение LED подсветки становится достаточно экономичным. Толщина модуля с LED подсветкой больше на 2 -4 мм, чем у модуля с EL подсветкой или без подсветки.
Отличительные особенности светодиодной (LED) подсветки:
- Низкое напряжение питания, нет необходимости использовать специальные преобразователи.
- Длительный жизненный цикл: свыше 100 тысяч часов (в среднем).
- Возможность подсветки красного, зеленого, оранжевого и белого цветов, возможность многоцветной (с переключением) подсветки.
- Возможность организации как боковой, так и матричной подсветки
- Типовое напряжение питания 4,2 В, потребление от 30 до свыше 200 мА, яркость 250 кд/м.
- Отсутствие генерации шумов.
Для CCFL подсветки характерны относительно малое потребление и очень яркий белый свет. Используются две технологии: прямая и боковая подсветки (См. Рис 5а и 5б).
В обоих случаях источником света являются флуоресцентные лампы с холодным катодом (источники локального светового пятна), свет от которых по всей площади экрана распределяется диффузорами (diffuser) и световодами (light guide). Боковая подсветка позволяет реализовать модули невысокой толщины и с меньшим потреблением. CCFL подсветка используется, в первую очередь, в графических LCD и срок службы CFL подсветки выше, чем у EL подсветки - до 10 - 15 тысяч часов.
Посредством CCFL обеспечивается подсветка больших поверхностей и поэтому она, преимущественно, используется в больших плоскопанельных дисплеях. Большим достоинством CCFL является возможность получения бумажно-белого цвета, что делает CCFL практически единственным источником подсвета цветных дисплеев. Для работы флуоресцентных ламп необходимы преобразователи, повышающие напряжение до 270 - 300 В переменного тока.
Отличительные особенности подсветки флуоресцентными лампами с холодным катодом (CCFL):
- Высокая яркость
- Большая долговечность
- Малое потребление
- Излучение белого цвета
- Прямая и боковая подсветка
- Используется с многоцветными и/или точечно-матричными модулями жидкокристаллических дисплеев
| Тип подс-ветки | Использо- вание, в зависимости от условий освещения |
Потребление | Стои- мость |
Генера- ция RFI |
Управление яркостью | Приме- чания |
| Нет | Неприменимо в условиях плохой освещенности | Наилучшее (не потребляет по своей природе) | Наименьшая | Отсутствует | Не используется | |
| EL | Применяется при любых условиях освещенности | Очень хорошее 30 мВт | Хорошая | Незначительная (на малых частотах) | Фиксированная яркость | Предпочтительна для устройств с батарейным питанием |
| LED | Применяется при любых условиях освещенности | Хорошее 60 мВт | Хорошая | Отсутствует | Регулируется в широком диапазоне | Чаще всего используется в небольших дисплеях |
| CCFL | Не применяется в условиях яркого освещения | Существенное 700 мВт | Самая высокая | Иногда (на высокой частоте) | Регулируется в ограниченном диапазоне | Чаще всего используется в больших графических дисплеях |
Максимальные значения
| Параметр | Условия измерения | Значение параметра | Единицы измерения |
| Потребляемый ток | fl : 40 Кгц Ta : 25 C |
6 | мА (макс) |
| Потребляемая мощность | fl : 40 Кгц Ta : 25 C |
1.5 | Вт |
| Параметр | Условия измерения | Значение параметра | Единицы измерения |
| Напряжение зажигания | Ta : 0°C | 600 | В |
| Напряжение зажигания | Ta : 25°C | 375 | В |
| Рабочее напряжение | Ta : 25°C | 250 | В |
| Рабочий потребляемый ток | Ta : 25°C | 5 | мА |
| Частота преобразователя напряжения питания | Ta : 25°C | 40 | КГц |
| Параметр | Условия измерения | Минимальное | Типовое | Максимальное | Единицы измерения |
| Средняя яркость | Выходной ток инвертора = 5 мА | 400 | 450 | - | кд/м2 |
| Равномерность яркости | Выходной ток инвертора = 5 мА | 70% | - | - | |
| Хроматичность по оси X | Выходной ток инвертора = 5 мА | 0.30 | 0.32 | 0.34 | |
| Хроматичность по оси Y | Выходной ток инвертора = 5 мА | 0.36 | 0.38 | 0.40 |
