В давние времена, когда не было электричества, а Новый год уже праздновали, на елке зажигали специальные новогодние свечи. Такое украшение было очень пожароопасным. Но эти времена уже прошли, все стали пользоваться электрическими гирляндами.
Это были обычные маленькие лампочки от карманного фонаря или от подсветки шкалы в радиоприемнике, соединенные последовательно. Из таких лампочек гирлянды делались энтузиастами преимущественно своими руками. Просто брали в руки паяльник, кто, конечно, умел им пользоваться, брали провод и лампочки, и через некоторое время новогодняя гирлянда уже висела на елке.
Несколько позже новогодние гирлянды стали выпускаться промышленным способом. В ход пошли различной конструкции малогабаритные патроны для ламп и цветные плафоны разной формы. Иногда плафоны делались прозрачными, а окрашивались сами лампы.
Мигалки и моргалки
Но спокойно смотреть на светящуюся новогоднюю гирлянду как-то невесело, хочется, чтобы душа развернулась. Видимо, этому способствует какое-то мигание гирлянды. В целом мигающая гирлянда привлекает своей красотой, и даже ожиданием какого-то чуда или сюрприза. Если же гирлянд будет несколько, то возможно получить различные световые эффекты, например, бегущий огонь, бегущая тень, бегущие двойки и тройки, а также много других интересных эффектов.
Когда-то такие конструкции разрабатывали радиолюбители, эти схемы публиковались в радиолюбительских журналах, как правило, в ноябрьских номерах. Но журналы эти в условиях социалистической бесхозяйственности приходили с опозданием чуть не на целый месяц, поэтому к Новому году удавалось сделать только прошлогоднюю мигалку.
В качестве элементной базы использовались микросхемы малой степени интеграции, в первую очередь К155 и К561 и их разновидности. В качестве примеров можно привести схему из журнала «Радио» №11 2002г.
В этом журнале автор И. Потачин опубликовал сразу несколько схем для управления гирляндами. Наиболее интересна схема с названием «Музыкальные гирлянды».
Основой схемы является счетчик DD2 типа К561ИЕ16, который через ключи на микросхеме DD3 и транзисторах VT4…VT7 управляет четырьмя светодиодными гирляндами. Самое интересное, что в качестве задающего генератора используется микросхема музыкального синтезатора УМС8-01. Такие микросхемы использовались когда-то для озвучивания детских игрушек и музыкальных звонков: просто проигрывали записанные в них мелодии.
Так вот в данной схеме выходной звуковой сигнал используется еще и для тактирования счетчика. Можно только догадываться, как будут выглядеть картины, порожденные светодиодами на фоне этого звука. Естественно, что музыка тоже звучит через динамик.
Далее в том же журнале, в той же статье опубликовано еще несколько схем того же автора, но уже с использованием мигающих светодиодов. Здесь же приводятся расчеты светодиодных гирлянд.
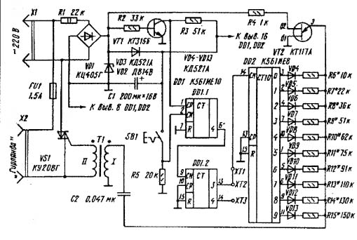
В журнале «Радио» №11 1995 г., опубликована схема под названием «Автомат плавного управления гирляндой» автор А.Чумаков. Схема обеспечивает поочередное плавное зажигание и гашение гирлянды со скоростью, задаваемой блоком управления. Схема устройства показана на рисунке 1.
Если присмотреться внимательней, схема представляет симисторный регулятор мощности, выполненный на двухбазовом транзисторе КТ117А. Только скорость заряда конденсатора меняется не вручную с помощью переменного резистора, а переключением отдельных резисторов с помощью счетчика – дешифратора К561ИЕ8. Для сравнения на рисунке 2 приведена схема фазового регулятора мощности с использованием двухбазового транзистора КТ117.
Микроконтроллерное управление новогодней гирляндой
По мере появления в радиолюбительском творчестве конструкций на микроконтроллерах, елочные мигалки, или как их уважительно называют «автоматы световых эффектов» также стали разрабатываться на микроконтроллерах. Наиболее экзотичная конструкция была опубликована в журнале «Радио» №11, 2012, стр. 37 под названием «Сотовый телефон управляет ёлочной гирляндой», автор А. Пахомов.
За основу конструкции была взята плата от неисправной китайской гирлянды. Автор пишет, что его привлекла оригинальность выходного каскада, управляемого непосредственно от МК. Он вспоминает те мигалки, которые строились на микросхемах серии К155, мощных тиристорах КУ202 (других просто не было), и в целом на такую мигалку можно было ставить саму елку.
А тут достаточно было на неисправной плате поменять контроллер, написать программу со световыми эффектами и дополнить каким-нибудь пультом управления. Вот этим пультом и стал валявшийся без дела старенький телефон Siemens C60. В качестве управляющего был применен микроконтроллер AT89C51. Что из этого получилось, показано на рисунке 3.
Рис. 3. Схема микроконтроллерного управления новогодней гирляндой (для увеличения нажмите на рисунок)
Простая светодиодная мигалка
Чуть выше статьи А. Пахомова в том же журнале «Радио» №11, 2012 опубликована статья И. Нечаева «Из деталей КЛЛ. Светодиодная мигалка для новогодней игрушки». Схема выполнена на трехцветном светодиоде и трех симметричных динисторах DB-3 «добытых» из плат от неисправных энергосберегающих ламп.
Каждый канал трехцветного светодиода управляется от своего релаксационного генератора, собранного на DB-3. Рассмотрим работу схемы на примере одного канала, например красного.
Конденсатор C1 через резистор R3 заряжается от выпрямителя R1, VD1 до напряжения пробоя динистора VS1 (32В). Как только динистор откроется, конденсатор C1 разряжается через красный элемент трехцветного светодиода, резистор R4, и динистор VS1. Далее цикл повторяется.
Красный, зеленый и синий элементы трехцветного светодиода имеют свои генераторы и работают независимо друг от друга. При этом, частота каждого генератора отлична от другого, поэтому вспышки происходят с разным периодом. Конструкция помещена в прозрачный корпус и может использоваться, например, в качестве елочной верхушки. Если в схему добавить белый светодиод HL2, то цветные вспышки будут происходить на белом фоне.
Можно было бы привести еще немало описаний конструкций отечественных радиолюбителей старых или новых, плохих или хороших, но все они были сделаны практически в единичных экземплярах. Современные же магазины сплошь завалены электроникой, сделанной в Китае. Даже новогодние гирлянды и те китайские, к тому же они сейчас ничего и не стоят.
Буквально год – другой назад такие новогодние гирлянды продавались по цене 100…200 рублей, а в канун нынешнего 2014 Нового года они продаются в магазинах с названием «Все по тридцать восемь». Реальная же цена, где-нибудь в «Меге» рубля полтора – два. Давайте, посмотрим, что же там спрятано внутри.
Контроллер китайской новогодней гирлянды
Внешне все выглядит очень просто. Маленькая пластмассовая коробочка с одной кнопкой, в которую входит сетевой шнур с вилкой, и выходят четыре гирлянды. При включении в розетку гирлянды сразу начинают поочередно показывать все световые эффекты. Всего этих эффектов 8, о чем говорят надписи под кнопкой. Нажатием кнопки можно просто сразу переключаться на желаемую световую картину.
Если коробочку открыть, то внутри тоже все достаточно просто, как показано на рисунке 5.
Здесь можно рассмотреть все детали. Микроконтроллер, как всегда, выполнен в виде капли черного компаунда, около него кнопка управления, электролитический конденсатор, единственный диод и три выходных тиристора.
На плате есть место и для четвертого тиристора, и если его запаять, то получится еще один дополнительный канал. В контроллере этот канал, как правило, тоже прошит. Просто наши китайские друзья сэкономили на один тиристор. Те, кому доводилось вскрывать подобные блоки управления, уверяют, что в некоторых коробочках запаяно всего по два тиристора. Экономика должна быть экономной! Наш, еще советский лозунг.
Несмотря на столь малые размеры, тиристоры PCR406 имеют обратное напряжение 400В, а прямой ток 0,8А. Если предположить, что нагрузка потребляет ток всего 25% от максимального, то при напряжении 220В можно коммутировать мощность 220 * 0,2 = 44(Вт).
На рисунке 6 показан печатный монтаж, по которому можно срисовать принципиальную схему, что и было сделано неоднократно. Здесь можно рассмотреть отверстия для четвертого тиристора, как раз того, на котором сэкономили.
Рис.6. Экономия деталей на примере китайской гирлянды
Экономия также коснулась диодного моста: вместо четырех диодов на этой плате используется только один. А все остальное соответствует схеме, показанной на рисунке 7.Сетевое напряжение выпрямляется диодным мостом VD1…VD4 и через гасящий резистор R1 подается на 10 вывод микроконтроллера. Для сглаживания пульсаций выпрямленного напряжения сюда же подключен электролитический конденсатор C1. Потребление тока у микроконтроллера совсем незначительное, поэтому в дальнейшем вместо моста из четырех диодов китайцы решили обойтись одним.
Небольшое замечание по поводу увеличения надежности всей схемы в целом. Если параллельно конденсатору C1 подпаять стабилитрон с напряжением стабилизации 9…12В, то вероятность выхода из строя МК или просто взрывов тиристоров уменьшится намного.
Заслуживает особого внимания резистор R7 подключенный к выводу 1 микроконтроллера прямо от сетевого провода. Это сделано для синхронизации с сетью, чтобы осуществлять фазовое регулирование мощности. Именно это работает в то время, когда лампы гирлянд плавно зажигаются или гаснут.
На правой стороне микроконтроллера расположены выходы управления тиристорами и кнопка управления, про которую было рассказано выше. Тиристоры включаются в момент, когда на соответствующем выходе МК появляется высокий уровень, тогда и зажигается соответствующая гирлянда.
Иногда требуются новогодине гирлянды большой мощности, от нескольких сотен ватт и выше. В этом случае рассмотренную схему можно использовать в качестве «мозгов», достаточно просто дополнить ее мощными симисторными ключами. Как это сделать, показано на рисунке 8.
Тут следует обратить внимание на то, что питание МК осуществляется от отдельного источника гальванически развязанного с сетью.
Светодиодные гирлянды
В них используется тот же самый контроллер с одной кнопкой, те же тиристоры, только вместо лампочек гирлянды составляются из светодиодов трех или четырех цветов. Каждая гирлянда содержит не менее 20 светодиодов с токоограничивающими резисторами.
Причем конструкция такой гирлянды, просто китайская загадка: в первой половине гирлянды к каждому светодиоду припаян резистор, а остальные десять штук, просто соединены последовательно. Опять же экономия сразу в десять резисторов.
Такую конструкцию можно, видимо, объяснить технологией производства. Например, на одной линии собирают первую половину, которая с резисторами, а на другой линии без резисторов. Потом останется только соединить две половины в одно целое. Но это только догадка.
Остается надеяться, что все у Вас в порядке, по крайней мере с новогодними гирляндами. Поэтому, наряжайте елку, накрывайте праздничный стол, приглашайте гостей, встречайте Новый год. С Новым годом, товарищи, друзья, господа! Это кому как больше нравится. Кстати, обязательно прочтите статью "Советы по ремонту китайских новогодних гирлянд"

Автор: Борис Аладышкин
